环境与生物工程学院教师专利展示

发布者:科技创新发布时间:2020-05-12浏览次数:295


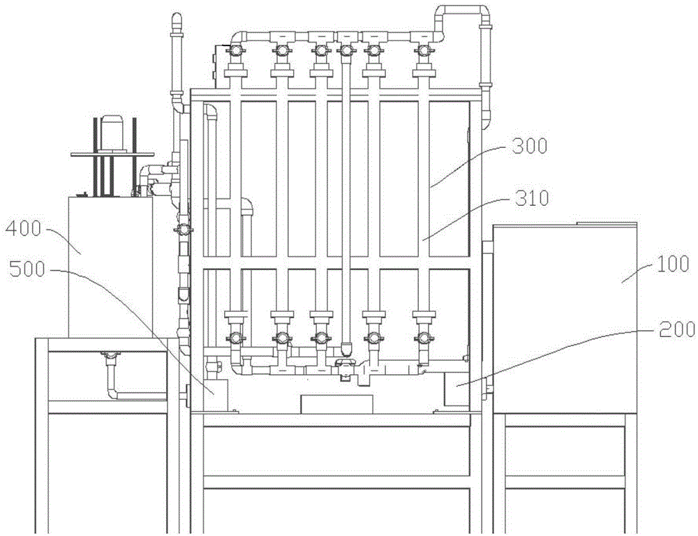
1.一种再生活性炭装置

申请号:201820991122.5申请日:2018-06-26

发明(设计)人:龚乃超 锁进猛 张浩 范康俊 周聃一 喻秀娟

本实用新型属于环境工程领域,具体涉及一种再生活性炭装置,包括原水池、第一水泵、活性炭再生塔、文氏管、贮液罐和第二水泵;第一水泵的输入端与原水池连通;活性炭再生塔包括若干个有机玻璃柱,有机玻璃柱内填充活性炭,有机玻璃柱的底端相互连通并与第一水泵输出端连通,有机玻璃柱的上端相互连通并与文氏管的粗口端连通;文氏管的窄口端与贮液罐的上端连通,文氏管上靠近窄口端的侧壁上设有通气管;贮液罐的下端与第二水泵的输入端连通,第二水泵的输出端与有机玻璃柱的底端连通。本装置具备两种功能,其一是用于对活性炭吸附进行清洗,同时还能用以对活性炭进行再生循环。


2.一种箬叶总黄酮的提取与纯化方法

申请号:201510737809.7申请日:2015-11-03

申请人:AWC万象城娱乐

发明(设计)人: 乐薇 吴士筠 杨文婷 柯斌清 覃瑞

本发明属于天然产物分离、食品添加剂、医药技术领域,具体涉及一种箬叶总黄酮的提取与纯化方法,包括以下步骤:a.将箬叶洗净、烘干,并粉碎;b.将上述粉碎的箬叶用饱和石灰水预浸泡2060min,加入乙醇水溶液后调节体系的酸碱度至接近中性并加热提取30min以上,加热提取的温度控制在5070℃,然后减压抽滤获得总黄酮提取液;c.将上述总黄酮提取液蒸发浓缩,经大孔树脂吸附,水洗后用乙醇水溶液洗脱得到洗脱液;d.将洗脱液蒸发浓缩,经冷冻干燥后得总黄酮。本发明的有益效果为,总黄酮的得率较高,提取时所用乙醇溶液浓度较低,提取时的温度较低。



3.一种混合建筑垃圾多级处理及再利用系统

申请号:201822233351.3申请日:2018-12-28

申请人: AWC万象城娱乐

发明(设计)人: 陶玲 包静 郑丹

本实用新型涉及建筑垃圾处理及再利用技术领域,提供了一种混合建筑垃圾多级处理及再利用系统,包括:一级处理单元,二级处理单元,三级处理单元,用于分离各种不同物料的轻物质分离装置,用于储存处理后的物料的若干仓库,用于利用仓库中的物料制备干粉砂浆的干粉砂浆装置,以及用于利用仓库中的物料制备再生砖的再生砖制备装置;一级处理单元、所述二级处理单元以及三级处理单元逐级连通,所述轻物质分离装置与所述三级处理单元的出料口连通。本实用新型通过多级处理单元进行处理后再利用干粉砂浆装置和再生砖制备装置合理利用被处理后的垃圾物料,不仅解决了现有技术中需要通过填埋而带来的环境问题和占地问题,还合理利用了资源,节省了能源。



4.一种多功能粉末活性炭空气净化器

申请人: AWC万象城娱乐

发明(设计)人: 陶玲 郑丹 包静

本实用新型提供一种多功能粉末活性炭空气净化器,包括壳体和设置在壳体上的进气口和出风模块,其特征在于:所述进气口设置在壳体底部,进气口往上依次设置过滤网、吸湿颗粒层、粉末活性炭吸附器、HEPA高效过滤网和光催化模块,经光催化模块处理后的气体进入上层出风模块,出风模块与电气模块和湿度调节模块连接,进一步对气体进行湿度调节处理,所述壳体上方设有控制模块,用于控制净化器的开关和对排出气体所需湿度进行调节。本实用新型空气净化器结构合理,易损件容易清洗更换,占地面积小,能耗低;粉末活性炭吸附器吸附量大,空气中的VOCs能充分被吸附;湿度调节模块可以增加或降低空气中的湿度,增加室内空气的舒适度。



5.一种建筑垃圾多级处理及再利用系统

申请号:201822233329.9申请日:2018-12-28

申请人: AWC万象城娱乐

发明(设计)人: 陶玲 郑丹 包静

本实用新型涉及建筑垃圾处理及再利用技术领域,提供了一种建筑垃圾多级处理及再利用系统,包括:进料单元,一级处理单元,二级处理单元,三级处理单元,干粉砂浆装置,以及再生砖制备装置;一级处理单元、二级处理单元以及三级处理单元逐级连通,进料单元包括依次连接的振动给料机以及一号振动筛;一级处理单元包括依次连接的一号破碎机和一号输送机;一号振动筛的出料端与一号输送机的进料端连通。本实用新型过多级处理单元进行处理后再利用干粉砂浆装置和再生砖制备装置合理利用被处理后的垃圾物料,合理利用了资源,节省了能源,且在进料单元中采用一号振动筛先一步对建筑垃圾进行筛选,可先将细小的物质筛选出,减轻后续处理单元的处理负担。



6.一种苯甲醛蒸馏防结焦剂

申请号:201410208937.8申请日:2014-05-16

申请人: 武汉长江工商学院

发明(设计)人: 柯斌清 吴士筠 乐薇 杨立 孙育平 廖庆玲 龚乃超 徐承睿 尹盛玉 杨文婷

本发明提供了一种苯甲醛蒸馏防结焦剂,由以下重量比的原料组成:吡啶3—5%,咪唑15—20%,噻唑5—10%,喹啉15—30%,呋喃10—20%,余量为嘧啶,本发明在苯甲醛提纯精馏过程中加入到苯甲醛蒸馏釜中,添加浓度小于100PPM,可以有效阻止苯甲醛蒸馏过程产生结焦现象,在苯甲醛提纯精馏过程中,能够减少蒸馏产生的副产物,阻止苯甲醛的蒸馏釜底聚合,改善蒸馏釜的结垢状况,防止焦化产物的生成,提高苯甲醛的产出率20%左右。

1