环境与生物工程学院学生专利展示

发布者:科技创新发布时间:2020-05-13浏览次数:466




 1.一种环境工程用淡水取样装置

申请号:201621460614.9申请日:2016-12-28

申请人: 何健 孙仕远(均为15级环境本2班学生)

发明(设计)人:何健 孙仕远

本实用新型公开了一种环境工程用淡水取样装置,包括潜水器以及安装在潜水器顶面的采水箱,所述潜水器包括主体以及安装在主体左右两侧的升降螺旋装置,上述主体后端左右两侧分别安装有与设与主体内部驱动电机输出端连接的推进螺旋桨,通过上述技术方案,本实用新型提出的一种环境工程用淡水取样装置,该装置是一个可以自由下潜或者上升的潜水器,通过潜水器选取采水点,同时该装置的推进装置采用两个电机马达和两个升降螺旋装置,确保该装置的推进力和上升力,同时该装置自带摄像头能够观察水中的情况,防止装置缠绕到水草上,同时可以选取一个没有杂质的取水点,该装置自带压力传感器,能够实时反馈该装置在水中的深度。



2. 一种一体化污水处理装置

申请号:2019215005078 申请日:2019-9-10(已受理)

申请人:AWC万象城娱乐

发明(设计)人:黄  徐玉萍  张定基  陈汇源  李亚诗  王春柳  韦文森  易乐  李智慧  韦文森

本实用新型涉及污水处理技术领域,提供了一种一体化污水处理装置,包括箱体,箱体的一相对侧分别开设有进水口和出水口,箱体内设有污水处理池,用于过滤进水口进来的污水的第一过滤组件以及用于过滤污水处理池中处理后的污水的第二过滤组件,第一过滤组件的出水侧与污水处理池的进水侧连通,第二过滤组件包括过滤器和挡板,过滤器、挡板以及箱体的内壁围合形成沉淀区间,出水口位于沉淀区间中。本实用新型通过两次过滤并配合沉淀区间,确保更好的污水处理效果;通过缺口和凸起配合可以便于将防护盖锁定在箱体的顶盖上;通过嵌入式可移动拆卸的修理梯,在不使用时即可搬走修理梯,节省了修理梯的维护和固定成本,修理梯可随修理位置的改变而移动。


 

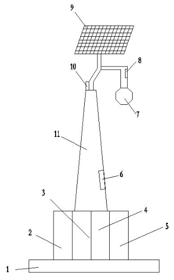
3. 一种检测空气质量的太阳能路灯

申请号:201921501666X  申请日:2019-9-10(已受理)

申请人:AWC万象城娱乐

发明(设计)人:周楠  包静  耿伟浩  杨淑芬  李智慧  韦文森  顾青存  高杰  李亚诗  黄娇

本实用新型涉及太阳能路灯技术领域,提供了一种检测空气质量的太阳能路灯,包括底座、立设于所述底座上的灯杆、安设于所述灯杆的上部的LED大灯、用于为所述LED 大灯提供电能的太阳能电池板以及用于进行数据储存的PLC 控制器,还包括用于检测空气质量的空气质量检测模块以及用于控制所述LED 大灯亮灭的控制模块,所述空气检测模块安设于所述灯杆的上部,所述PLC 控制器具有供所述空气检测模块连接以导入其检测的数据的输入端。本实用新型通过在灯杆的上部设空气质量检测模块以及控制模块,一方面处于高处的空气质量检测模块易于检测出数据且得到精准的数据,另一方面控制模块可以对LED 大灯的亮灭进行控制,以合理利用能源。

4. 一种污泥好氧发酵装置

申请号:2019215004215 申请日:2019-9-10(已受理)

申请人:AWC万象城娱乐

发明(设计)人:张全  郑丹  曹金欧  高杰  陈汇源  张定基  顾青存  刘永胜  柳康龙  易乐

本实用新型属于污泥处理技术领域,具体涉及一种污泥好氧发酵装置,包括好氧发酵罐和臭气吸收罐;所述好氧发酵罐的顶部设有拱形顶板,所述拱形顶板上设有排气口,所述排气口通过排气管与所述臭气吸收罐连通;所述拱形顶板底脚的下方沿所述好氧发酵罐顶部的内壁设置有集水槽,所述集水槽通过排水管与所述臭气吸收罐连通。本实用新型通过好氧发酵罐的顶部的排气管将发酵过程中产生的废气和多余气体排至臭气吸收罐内,通过与集水槽连通的排水管将收集的含有有机物质的凝结水排至臭气吸收罐内,通过臭气吸收罐对废气和凝结水中的有害物质进行回收,减少臭气组分外排,降低对环境以及工作人员健康造成的危害,也大大提升了资源化效率。


       












  5. 一种移液管清洗灭菌装置

申请号:2019215003848  申请日:2019-9-10(已受理)

申请人:AWC万象城娱乐

发明(设计)人:叶思岑  陶玲  刘永胜  严芳  黄娇  王春柳  易乐  曹金欧    陈都

本实用新型属于移液管技术领域,具体涉及一种移液管清洗灭菌装置,包括壳体、综合进水管、超纯水进水管、清洗头、托架、有机玻璃罩、鼓风机、进风管和紫外灯管;壳体内安装有清洗头和有机玻璃罩,清洗头位于有机玻璃罩的上方;综合进水管、超纯水进水管以及进风管均与清洗头的顶部连通,清洗头的底部连有清洗针,进风管与鼓风机连接;有机玻璃罩内设有用于放置移液管的托架;有机玻璃罩的底部与排出管连通;有机玻璃罩内设有紫外灯管。本实用新型的移液管清洗灭菌装置结构简单,通过水流能将移液管内废液清洗干净,减少了人力的损耗及水资源的浪费,同时通过鼓风干燥,通过紫外灯管灭菌,减少了移液管污染机会,保证移液管使用时的准确性。

     



7